Pressnippel Sae-3000Psi 44,5Mm-1 Rak
Lägg till en bevakning så meddelar vi dig så snart varan är i lager igen.
Pressnippel Sae-3000Psi 44,5Mm-1 Rak
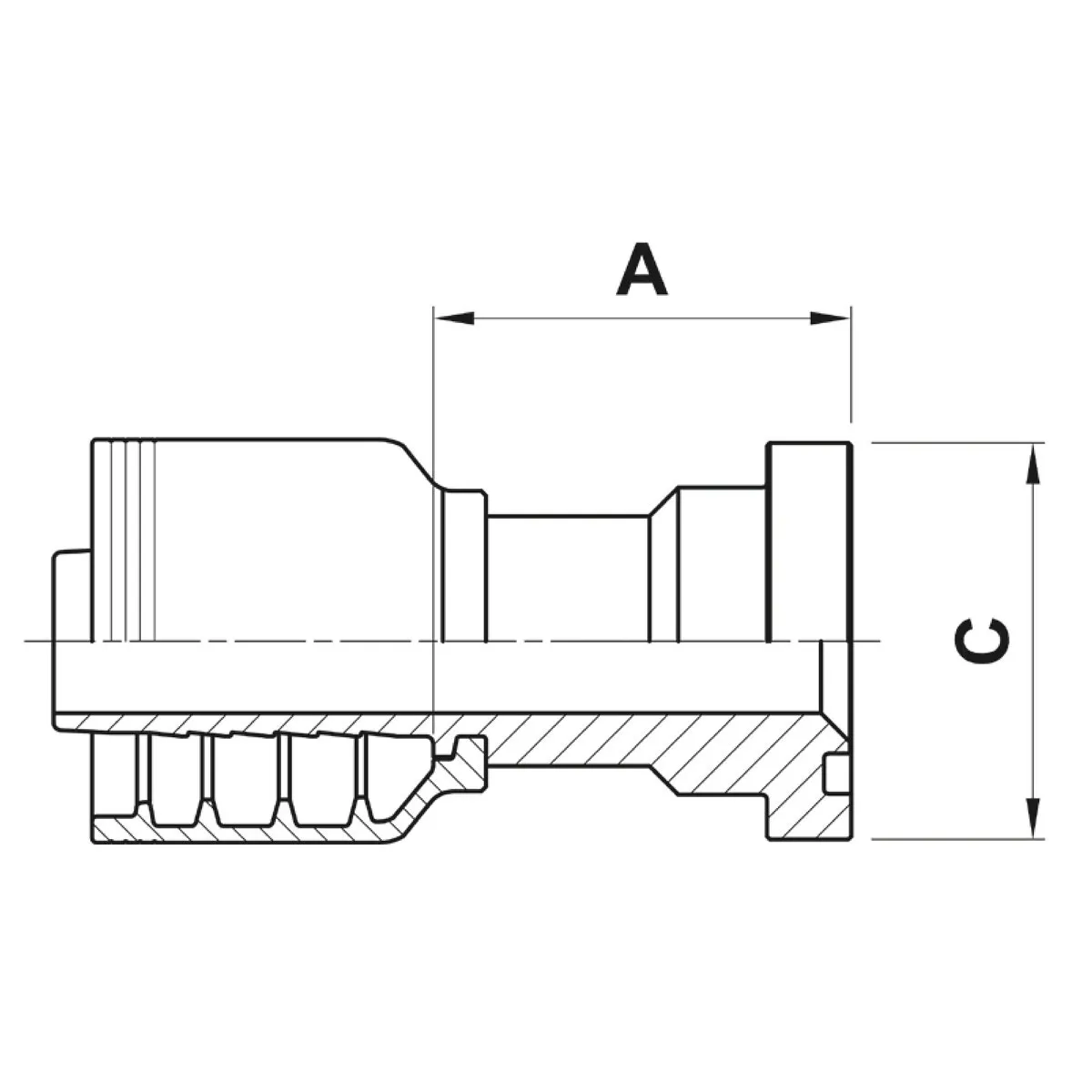
- hydraulslangkoppling med färdigt applicerad klämhylsa, lämpar sig för slangar med 1, 2, 3 eller 4 väv
- SAE 3000PSI (lätt serie)
- o-ring tätning
- o-ring: 32,92x3,53
- fläns: 1"
- mått A: 47,5 mm
- mått C: 44,4 mm
Beskrivning
Lägsta prisgaranti!
Snabb frakt från 49:- och fraktfritt över 1 499:- på 99% av sortimentet.
Hämta fraktfritt i Nyköping eller Älvsered!
Vi är en svensk butik med svensk adress och organisationsnummer!
Hos oss ska du känna dig trygg - Garantier enligt Svensk standard och heltäckande reservdelsportfölj.
